Nowy projekt Nintendo Dual Screen?

Jak już dobrze wiemy, premiera Dual Screen Lite zaplanowana jest na czwartek. Z pewnością japońskie sklepy przeżyją najazd spragnionych nowych wrażeń. Trzeba przyznać, że Nintendo ambitnie rozwija swój produkt dzielnie walcząc z konkurencją. Na tym nie koniec. Według poniższych informacji potentat z Japonii nie zamierza na tym poprzestać.

Maciej Bajorek

Komentarze

Jak już dobrze wiemy, premiera Dual Screen Lite zaplanowana jest na czwartek. Z pewnością japońskie sklepy przeżyją najazd spragnionych nowych wrażeń. Trzeba przyznać, że Nintendo ambitnie rozwija swój produkt dzielnie walcząc z konkurencją. Na tym nie koniec. Według poniższych informacji potentat z Japonii nie zamierza na tym poprzestać.

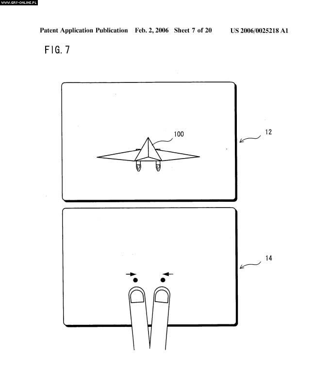
Nowy projekt Nintendo Dual Screen? - ilustracja #1Oto patent oznaczony numerem #20060025218, zgłoszony do amerykańskiego urzędu patentowego. W tekście możemy wyczytać o maszynie, która wyposażona jest w ekran dotykowy oraz obsługuje nośnik danych, na którym znajdują się gry. Sam design sprzętu jest zdecydowanie inny od poprzednich produktów Nintendo.

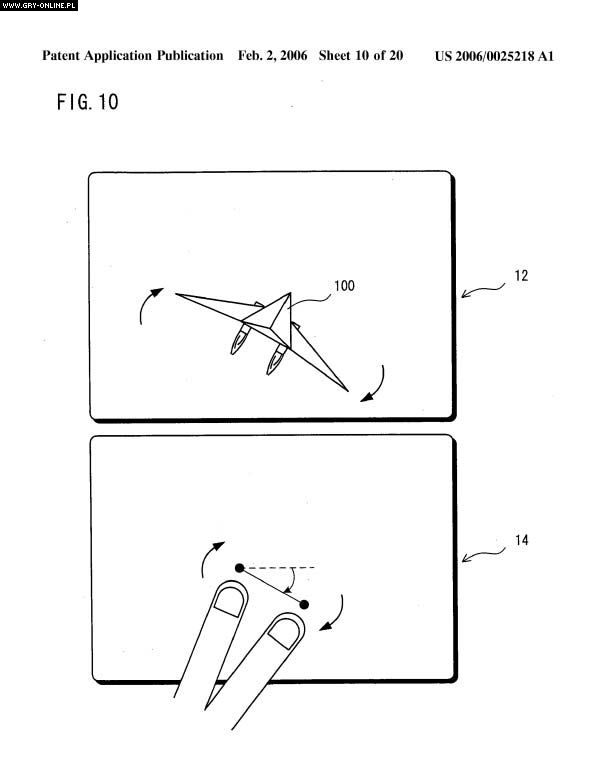
Nowy projekt Nintendo Dual Screen? - ilustracja #2W treści patentu znajdziemy ciekawą informację na temat wspomnianego panelu dotykowego. Otóż, potrafi on rozpoznać przynajmniej dwa miejsca równoczesnego dotyku, a nie jedno tak jak ma to miejsce w obecnych wersjach DSa. W jaki sposób mogłoby to zostać wykorzystane przedstawiono na screenach.

Nowy projekt Nintendo Dual Screen? - ilustracja #3 Wniosek patentowy został wypełniony w lipcu 2005, czyli być może chodzi tu o jeden z projektów Dual Screena Lite, bądź też o całkiem nową konsolę. Choć powyższe informacje nie zostały oficjalnie potwierdzone, to jednak możemy się spodziewać, iż w przyszłości ujrzymy nowego handhelda Nintendo. Niekoniecznie o identycznym designie.

Nowa filmowa kolekcja The Godfather na DVD z materiałami bonusowymi na temat gry

Następny
Nowa filmowa kolekcja The Godfather na DVD z materiałami bonusowymi na temat gry

Co zobaczymy w Mortal Kombat: Unchained?

Poprzedni
Co zobaczymy w Mortal Kombat: Unchained?

Kalendarz Wiadomości

Nie
Pon
Wto
Śro
Czw
Pią
Sob

GRYOnline.pl:

Facebook GRYOnline.pl Instagram GRYOnline.pl X GRYOnline.pl Discord GRYOnline.pl TikTok GRYOnline.pl Podcast GRYOnline.pl WhatsApp GRYOnline.pl LinkedIn GRYOnline.pl Forum GRYOnline.pl

tvgry.pl:

YouTube tvgry.pl TikTok tvgry.pl Instagram tvgry.pl Discord tvgry.pl Facebook tvgry.pl