Firma Sony patentuje pomysł na uniwersalny kontroler

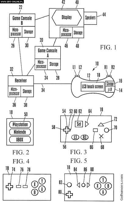
Serwis GoRumors odnalazł wniosek patentowy firmy Sony dotyczący uniwersalnego kontrolera do gier, który miałby działać na wielu platformach. Zgodnie z opisem, urządzenie byłoby wyposażone w dotykowy ekran LCD wyświetlający dowolny układ przycisków. To pozwoliłoby „emulować” właściwie każdy kontroler dostępny na rynku – także z konkurencyjnych konsol.

futurebeat.pl

Szymon Liebert

Komentarze

Serwis GoRumors odnalazł wniosek patentowy firmy Sony dotyczący uniwersalnego kontrolera do gier, który miałby działać na wielu platformach. Zgodnie z opisem, urządzenie byłoby wyposażone w dotykowy ekran LCD wyświetlający dowolny układ przycisków. To pozwoliłoby „emulować” właściwie każdy kontroler dostępny na rynku – także z konkurencyjnych konsol.

Powyższa koncepcja jest tylko wczesnym wnioskiem patentowym, który niekoniecznie znaczy, że firma Sony planuje wprowadzić taki kontroler. Niejednokrotnie koncerny zgłaszają swoje pomysły na nowe urządzenia żeby uprzedzić konkurencję i zabezpieczyć na przyszłość możliwe rozwiązania. Czy sprzęt emulujący inne kontrolery na ekranie dotykowym ma rację bytu?

Firma Sony patentuje pomysł na uniwersalny kontroler - ilustracja #1

Tego oczywiście jeszcze nie wiemy, ale brak jakikolwiek „fizycznych” przycisków może być dość niewygodny. Z drugiej strony urządzenie miałoby szerokie zastosowanie i zapewne pozwalało na wprowadzanie modyfikacji w schemacie sterowania. Według wniosku patentowego, uniwersalny kontroler mógłby też wydawać dźwięki i zostałby wzbogacony o funkcję wibrowania.

Emulator popularnych kontrolerów nie brzmi więc niedorzecznie, chociaż wydaje się trudny do zrealizowania. W końcu nie wystarczy wyświetlić przycisków na ekranie dotykowym – całość musi dobrze leżeć w rękach. Firma Sony nie skomentowała jeszcze doniesień o rzekomym urządzeniu, więc na razie pozostaje ono jedynie niepotwierdzoną plotką.

Kolejne plotki o Tomb Raider 9 w sieci

Następny
Kolejne plotki o Tomb Raider 9 w sieci

Najlepiej sprzedające się gry w Wielkiej Brytanii (14 - 20 lutego)

Poprzedni
Najlepiej sprzedające się gry w Wielkiej Brytanii (14 - 20 lutego)

Kalendarz Wiadomości

Nie
Pon
Wto
Śro
Czw
Pią
Sob

GRYOnline.pl:

Facebook GRYOnline.pl Instagram GRYOnline.pl X GRYOnline.pl Discord GRYOnline.pl TikTok GRYOnline.pl Podcast GRYOnline.pl WhatsApp GRYOnline.pl LinkedIn GRYOnline.pl Forum GRYOnline.pl

tvgry.pl:

YouTube tvgry.pl TikTok tvgry.pl Instagram tvgry.pl Discord tvgry.pl Facebook tvgry.pl