Nintendo Switch otrzyma wsparcie VR w tym roku?
Na nowo odżyły pogłoski o dodaniu wsparcia wirtualnej rzeczywistości na konsoli Nintendo Switch. Według serwisu Nintendo World Report japoński koncern planuje ujawnić urządzenie VR jeszcze w tym roku, jak również dodać wsparcie tej technologii do wybranych tytułów ekskluzywnych.

W ostatnim czasie nie brakowało pogłosek sprzętowych na temat Nintendo Switch. Większość z nich dotyczyła możliwości pojawienia się nowego modelu tego urządzenia, czy to mocniejszego, czy też – według niedawnych plotek – tańszego od obecnej wersji konsoli. Jednak doniesienia serwisu Nintendo World Report idą w zupełnie innym kierunku. Według licznych źródeł strony gigant z Kioto planuje ogłosić projekt związany z technologią wirtualnej rzeczywistości. Miałoby to nastąpić jeszcze w tym roku. Co więcej, redakcja wyraża przekonanie, że kilka tytułów ze stajni Nintendo otrzyma wsparcie VR „w nieodległej przyszłości”.
Tego typu doniesienia – zwłaszcza niepodające żadnych szczegółów – trudno wziąć za dobrą monetę. Pojawia się też pytanie, czy można je w ogóle uznać za prawdopodobne? Przecież ledwo rok temu Philippe Lavoué z francuskiego oddziału Nintendo wyrażał wątpliwości co do zainteresowania konsumentów technologią VR. Na tej podstawie artykuł Nintendo World Report można by włożyć między bajki. Tyle tylko, że nie jest to pierwszy sygnał świadczący o zainteresowaniu Nintendo wirtualną rzeczywistością.
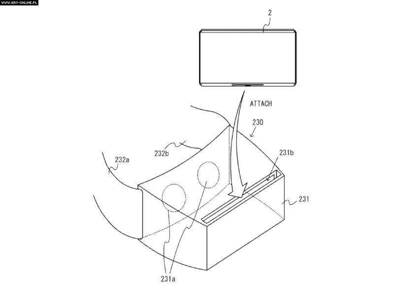
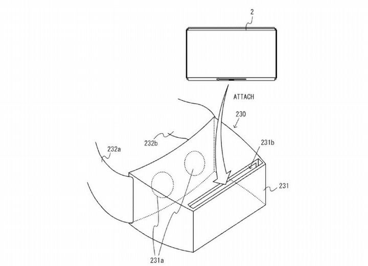
Pierwsze pogłoski o wsparciu VR na Nintendo Switch pojawiły się jeszcze przed debiutem konsoli. Według ówczesnych pogłosek (via Digitimes) to właśnie chęć poprawienia kompatybilności z tą technologią miała być powodem przesunięcia premiery Switcha na marzec 2017 roku. Później użytkownicy forum NeoGAF zwrócili uwagę na patent Nintendo na wyświetlacz podejrzanie przypominający zestawy VR. A w sierpniu 2018 roku gracze odkryli kolejne wskazówki co do pojawienia się trybu VR na Switchu. Jakby tego było mało, Reggie Fils-Aime – prezes Nintendo of America, cieszący się sporą renomą wśród fanów koncernu – potwierdził w październikowej rozmowie z Ars Technica, że firma rzeczywiście eksperymentuje z wirtualną rzeczywistością.

Podobnych wskazówek można znaleźć więcej, jak choćby w związku z VRM Consortium – przedsiębiorstwem założonym przez trzynaście japońskich firm, mającym na celu rozwój VR na międzynarodowym rynku. Jakkolwiek Nintendo nie jest jego członkiem, koncern bierze udział w poczynaniach grupy jako obserwator (via VRScout). Nie zapominajmy też, że spółka nie pierwszy raz wyraziłaby zainteresowanie technologią VR – dość wspomnieć konsolę Virtual Boy z 1995 (gwoli ścisłości, niemającą wiele wspólnego z obecnym VR). Wtedy inicjatywa Nintendo zakończyła się kompletnym fiaskiem, teraz jednak firma mogła uznać, że współczesna technologia pozwoli na realizację tych zamysłów.
Niestety, żadna z tych informacji nie pozwala ostatecznie rozstrzygnąć, czy rzeczywiście Nintendo planuje coś konkretnego w temacie wirtualnej rzeczywistości. A jeśli tak, to co takiego zaoferuje swoim urządzeniem, by zainteresować potencjalnych nabywców? Być może otrzymamy gogle VR ze wspomnianego patentu albo coś na podobieństwo Google Cardboard, wykorzystującego zestaw Nintendo Labo. Albo też firma wpadnie na jeszcze inny pomysł, może równie oryginalny co wspomniane Labo czy samo Nintendo Switch. Na razie jednak przypominamy, by traktować tego typu doniesienia jako nieprawdziwe do czasu ich ewentualnego potwierdzenia przez Nintendo.

Więcej:Graficzny lifting i gry aż do 2030 roku. Teraleak znów zdradza plany rozwoju serii Pokemon
Komentarze czytelników
Gronbar Junior
Możesz kupić samy kartridż z grą za trochę więcej jak 100zł i samemu wydrukować kartony z strony nintendo, albo wydrukować je w drukarce 3d.
zanonimizowany1182476 Pretorianin
Kolejne wyssane z palca plotki. Tak jak i o silniejszej słabszej wersji. Po co? Po co Nintendo miałoby wprowadzać poprawki do czegoś co się idealnie sprzedaje? Tak samo były plotki o jakiejś super aktualizacji, to była tylko podpucha i próba wpłynięcia na Nintendo. Aczkolwiek - słabsza wersja (na pewno nie silniejsza!) ma szansę się ukazać. Żadne zmodyfikowane wersje np. lepszy ekran, bateria - nie mają prawa się ukazać! Nintendo nie jest głupie.
Erlan012 Generał
A ja poczekam i zobaczę co zaoferują. Lubię podejście Nintendo do urozmaicania rozgrywki więc liczę, że może to być coś ciekawego ale oczywiście poczekam na pierwsze recenzje i opinie przez jakimkolwiek zakupem.
Jeżeli VR będą kartonowe albo coś to jedynie zakup oprogramowania będzie drogi i znowu wzór będzie udostępniony za darmo.
Erlan012 Generał
Ciekawe jak to będzie wyglądać i działać. Póki co Playstation prowadzi ale niech Nintendo próbuje może dostaniemy coś ciekawego szczególnie, że pomysłowości im nie brakuje :)
DanuelX Legend

Jestem w stanie w tej chwili założyć orzechy przeciwko dolarom, że VR będzie tekturowe (podobnie jak google vr) i będzie ultra uproszczone. Zwyczajny gadżet bez sensownego zastosowania za tonę zetów.