Microsoft pracuje nad rewolucyjną technologią, która może zapewnić nam prywatność w miejscach publicznych. Opatentowany system dynamicznie koduje tekst w taki sposób, że tylko fragment, na który patrzy użytkownik pozostaje czytelny.
Microsoft pracuje nad nową technologią, która może zrewolucjonizować sposób, w jaki chronimy naszą prywatność w miejscach publicznych. Wyobraź sobie, że pracujesz nad poufnymi dokumentami w kawiarni, pociągu czy samolocie, nie martwiąc się, że ktoś zerka Ci przez ramię i czyta Twoje dane. Brzmi jak science fiction? Microsoft właśnie opatentował system, który ma to umożliwić.
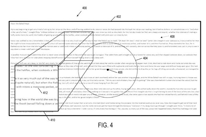
Technologia ta opiera się na zaawansowanym systemie śledzenia wzroku użytkownika oraz inteligentnym kodowaniu tekstu. Dokument, nad którym pracujesz, jest dynamicznie szyfrowany w taki sposób, że tylko fragment, na który aktualnie patrzysz, jest czytelny. Reszta tekstu pozostaje zaszyfrowana, wyglądając jak losowy ciąg znaków.

System wykorzystuje kamerę do śledzenia ruchu gałek ocznych użytkownika i dostosowuje wyświetlany tekst w czasie rzeczywistym. Dzięki temu, nawet jeśli ktoś stoi tuż za Tobą, zobaczy tylko nieczytelny bełkot. Zaprezentowana metoda szyfrowania nie jest chaotyczna. Zachowuje ona strukturę tekstu, taką jak długość zdań czy układ akapitów, co ułatwia czytanie i nie zakłóca pracy.
Sama metoda kodowania może być dostosowana do różnych typów dokumentów, w tym tych zawierających elementy graficzne. Grafiki mogą być rozmyte lub poddane stylizacji, aby chronić poufne informacje.
Publikacja patentowa sugeruje również, że Microsoft rozważa różne metody implementacji tej technologii, zarówno programowe, jak i sprzętowe. Może to oznaczać, że w przyszłości zobaczymy zarówno dedykowane urządzenia, jak i aktualizacje oprogramowania, które wprowadzą tę funkcjonalność do istniejących urządzeń.
Chociaż technologia ta wydaje się być rodem z filmów o Jamesie Bondzie, jej zastosowania są znacznie szersze. Może ona przynieść korzyści każdemu, kto ceni swoją prywatność w miejscach publicznych. Prawnicy, lekarze, biznesmeni, a nawet zwykli użytkownicy, którzy chcą zachować dyskrecję podczas przeglądania prywatnych wiadomości czy dokumentów, zapewne znajdą w niej wartość.
Microsoft już wcześniej sygnalizował swoje zainteresowanie tego typu rozwiązaniami. Na początku ubiegłego roku firma opatentowała specjalny rodzaj ekranu LCD, który miałby zapewniać użytkownikom zwiększoną prywatność podczas oglądania treści w miejscach publicznych.
Technologia ta przedstawia zaawansowaną i łatwą w użyciu warstwę bezpieczeństwa. W erze cyfrowej, gdzie prywatność jest coraz bardziej zagrożona, takie rozwiązania mogą stać się nieodłącznym elementem naszego życia w niedalekiej przyszłości.
Na razie nie wiadomo, kiedy dokładnie technologia ta trafi na rynek. Jednak biorąc pod uwagę rosnące zainteresowanie Microsoftu kwestiami prywatności, można się spodziewać, że wkrótce zobaczymy ją w praktyce.
Więcej:Pokolenie Z odsuwa się od telewizji i streamingu, bo woli dwuminutowe seriale na YouTube
0

Autor: Krystian Łukasik
Zawodowo skupia się na pisaniu wiadomości ze świata elektroniki oraz tłumaczeń opisów i instrukcji produktów specjalistycznych. Pasja do nowoczesnych technologii komputerowych oraz gamingu pozwala mu być ciągle na bieżąco z ewoluującymi trendami w tych dziedzinach. Jego zamiłowanie do języka angielskiego stało się fundamentem decyzji o podjęciu i ukończeniu studiów z filologii angielskiej.