Huawei patentuje komputer kwantowy
Huawei opatentowało komputer kwantowy, który może zrewolucjonizować wytwarzanie układów kwantowych. Rozwiązanie to ma zwiększyć wydajność ich produkcji.

Źródło: Unsplash / david latorre romero
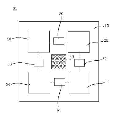
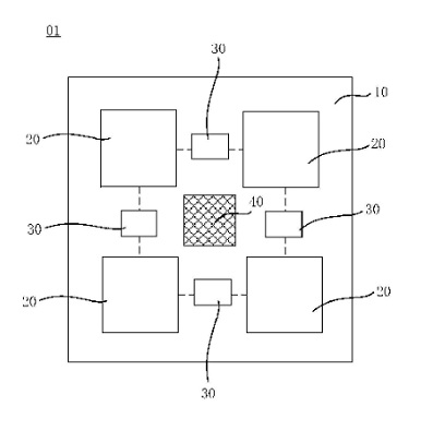
Firma Huawei oficjalnie opublikowała nowy patent dotyczący urządzeń wykonujących obliczenia kwantowe. Zgłoszenie o numerze CN114613758A mówi o opracowaniu przez chińska firmę urządzenia oraz chipsetu kwantowego.
Kwantowe szaleństwo
Komputery kwantowe są niezwykle złożone w produkcji, a stosunek wydajności do ceny takich układów odstaje od obecnie używanych tradycyjnych jednostek obliczeniowych.
Huawei dzięki nowemu patentowi chcę rozwiązać wyżej wspomniane problemy, co ma zapewnić w przyszłości produkcję tańszych oraz łatwiejszych w montażu układów kwantowych. Więcej technicznych szczegółów architektury kwantowego układu scalonego znajdziecie na stronie Huawei Central.
Czym jest komputer kwantowy?
Komputer kwantowy to bardzo zaawansowana maszyna, której działanie opiera się na zasadach mechaniki kwantowej, opisującej zjawiska wykraczające poza granice mechaniki klasycznej. Komputer tradycyjny opiera się na przesyłaniu informacji za pomocą bitów (0 lub 1), natomiast w komputerze kwantowym odbywa się to z użyciem kubitów (kwantowych bitów). Kubit oprócz wartości 0 lub 1 posiad zakres stanów pośrednich, dzięki czemu jest w stanie przechowywać znacznie więcej informacji niż bit, a jego wydajność jest wielokrotnie wyższa.

Może Cię też zainteresować:
- Kwantowy Internet będzie teleportował nasze dane
- Chiński „kwantowy” telefon, którego nie da się zhakować
- Internet kwantowy coraz bliżej; powstała pierwsza sieć wielowęzłowa
Komputery kwantowe to wciąż raczkująca technologia, która w przyszłości może zostać wykorzystana w wielu dziedzinach naszego życia. Szybsza analiza wielkich ilości danych, skuteczniejsze badania na lekami czy dokładniejsze przewidywanie pogody to jedne z wielu rzeczy, na które wpłyną obliczenia kwantowe.
Komentarze czytelników
DevJedenZwielu Legionista
Cóż za oksymoron, chińska firma zgłosila patent xD.
blood Legend

Patenty zgłaszane przez chińskie firmy to ponury żart.
skorp_ Pretorianin
To chyba dobrze, bo czas trwania patentu wynosi maks. 20 lat.
Sasori666 Senator

Z patentami wkurzające jest to, że można opatentować coś, co będzie możliwe za 20 lat.