EA pracuje nad nowym systemem battle pass; firma zgłosiła patent
EA może planować zmiany w swoich systemach nagród występujących w grach wieloosobowych. Firma opatentowała bowiem nowy, oferujący więcej możliwości wariant takiego mechanizmu.

- Electronic Arts opatentowało nowy system nagród, który zastosować można w grach wieloosobowych.
- Pozwala on na wybór różnych ścieżek, które oferują inne bonusy.
- Umożliwiłoby to o wiele większą swobodę w dostosowywaniu nagród do swoich upodobań.
Wygląda na to, że Electronic Arts może szykować zmiany w kwestii systemów nagród, z jakimi mamy do czynienia w ich grach wieloosobowych. Firma opatentowała bowiem nowy wariant tego mechanizmu. Według opisu oferowałby on graczom o wiele więcej możliwości dostosowywania otrzymywanych nagród do własnych upodobań.
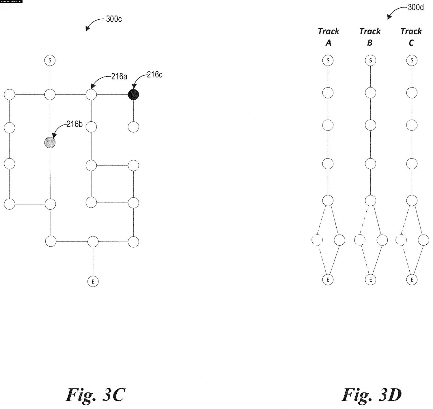
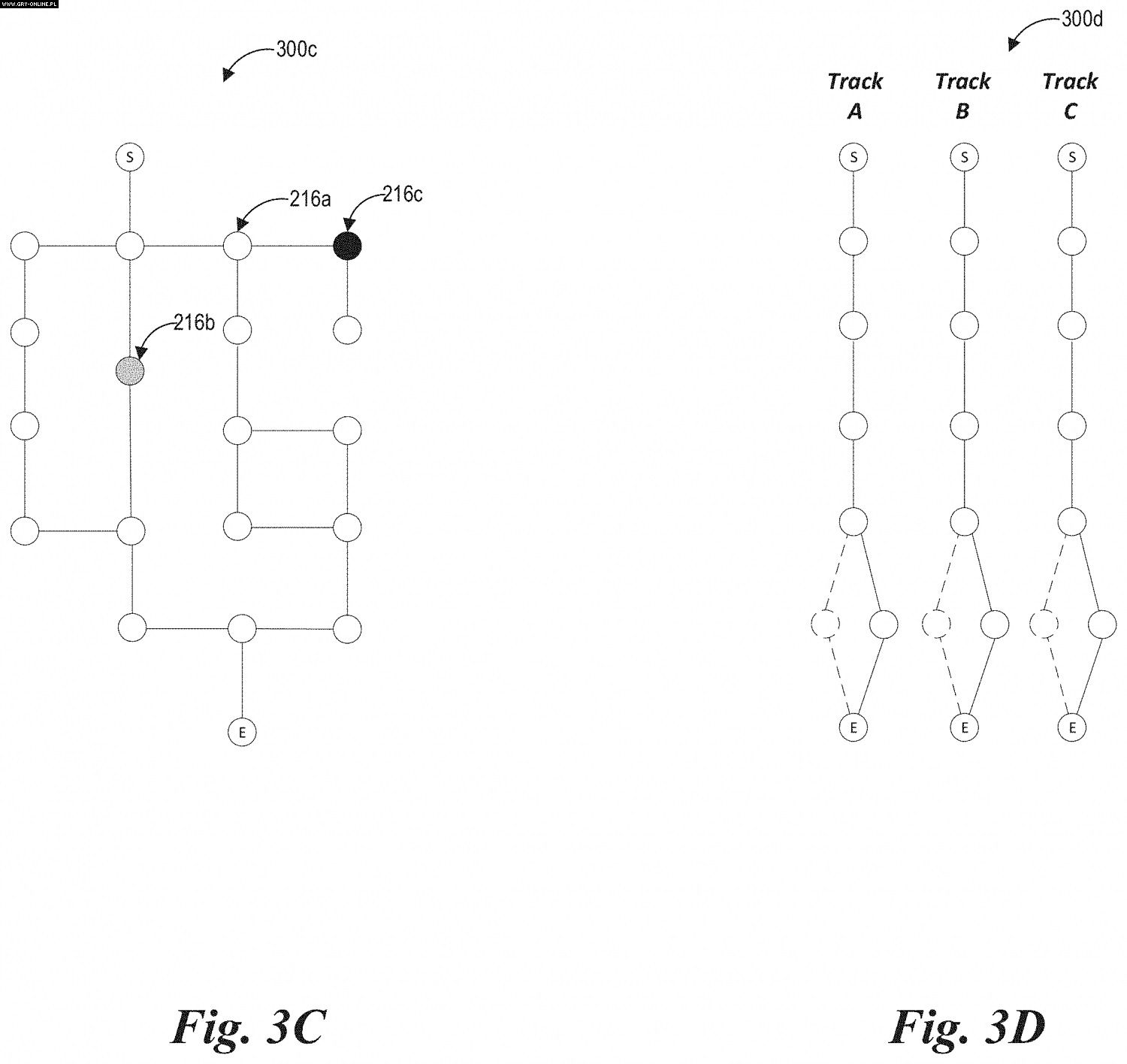
Nowy system przypominałby drzewka umiejętności znane chociażby z gier RPG. W nasze ręce oddane zostałoby więc wiele ścieżek, które oferowałyby całkowicie inne nagrody. Gracze mogliby wybrać interesujące ich drogi i skupić się na odblokowywaniu jedynie tych elementów, które wzbudzają ich zainteresowanie. Ponadto użytkownicy przemieszczaliby się pomiędzy głównymi ścieżkami, tworząc całkowicie unikalne łańcuchy nagród.

Poszczególne ścieżki zawierałyby nagrody zarówno dla zwykłych użytkowników, jak i graczy z kontem premium.
Niektóre z nich byłyby ponadto dostępne jedynie dla określonych klas postaci lub przedstawicieli konkretnych frakcji. Celem tego rodzaju zabiegów jest prawdopodobnie chęć mocniejszego zaangażowania graczy w odblokowywanie zawartości dostępnej w grze. Zastosowanie opatentowanego rozwiązania pozwoliłoby na udostępnienie im o wiele bardziej spersonalizowanego podejścia zamiast z góry ustalonych wyzwań sezonowych.
Graczy najpewniej nie ucieszy jednak wiadomość, że w opisach patentu EA wspomina już o monetyzacji tego typu rozwiązania. Poszczególne etapy ścieżek mogłyby być dostępne na przykład jedynie dla użytkowników premium lub po wykupieniu wirtualnej waluty za prawdziwe pieniądze. Na razie nie wiadomo jednak, czy opisany powyżej system zostanie wprowadzony w jakiejkolwiek grze Electronic Arts. Firma pracuje nad nim od 2018 roku, lecz nie zdradzono, czy przełoży się to na rzeczywiste zastosowanie mechanizmu w przyszłości.
- Electronic Arts patentuje technologię szybkiego wczytywania gier
- Proste tworzenie map z pomocą sieci neuronowych. Nowy patent Electronic Arts
- EA / Electronic Arts
- multiplayer
- nowe technologie
- patenty i znaki towarowe
- PC
- PS5
- XSX
Komentarze czytelników
Karollo Konsul

EA pracuje nad nowym systemem battle pass
W skrócie "zaprojektowaliśmy super psychologiczny battle pass, gdzie chcesz czy nie, zapłacisz nam więcej pod pretekstem innowacyjnego podejścia"
skorp_ Pretorianin
Wygląda jak zrzynka z drzewka nagród z Gwinta.
|13| Generał

Poszczególne etapy ścieżek mogłyby być dostępne na przykład jedynie dla użytkowników premium lub po wykupieniu wirtualnej waluty za prawdziwe pieniądze.
To EA, więc zapewne tak właśnie będzie.
A co do pomysłu ścieżek nagród, to czasami takie coś już nie istnieje w grze PVZ Battle for Neighborville?
Rock Alone Konsul

Więcej ścieżek oznacza więcej okazji, żeby wyciągnąć kasę od graczy. Zrobią Battle Pass i Battle Pass Plus, żebyś mógł ogarniać wszystkie ścieżki na raz.