Z wniosku patentowego złożonego przez firmę Nintendo wynika, że jej nowa konsola stacjonarna nie będzie wyposażona w napęd optyczny, a zamiast tego otrzyma wsparcie dla kart pamięci.
Kamil Zwijacz

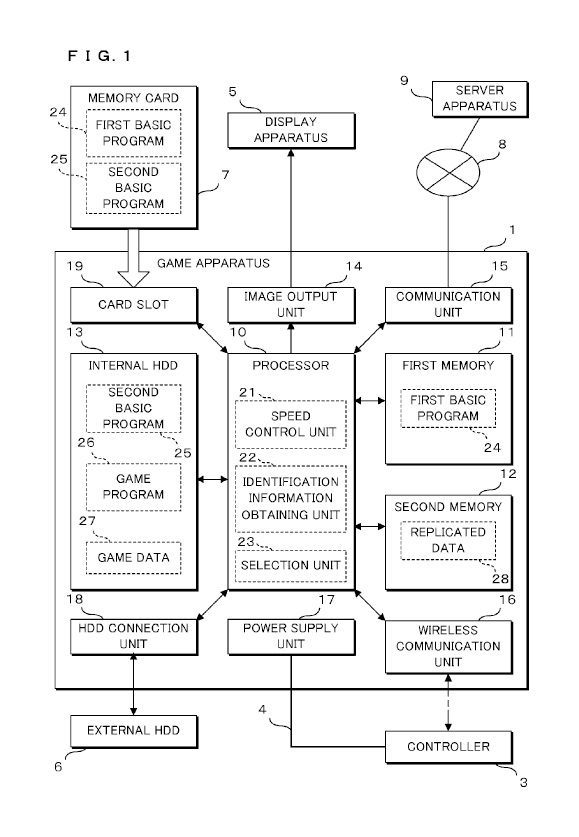
Od kilku miesięcy wiemy, że firma Nintendo pracuje nad następcą konsoli Wii U. Nowy sprzęt, roboczo ochrzczony mianem Nintendo NX, obecnie owiany jest tajemnicą i pierwsze konkrety na jego temat mamy poznać dopiero w przyszłym roku. Na forum NeoGAF pojawiły się jednak pewne szczegóły dzięki złożonemu (dokument trafił do urzędu w lutym, ale wypłynął dopiero teraz) przez koncern wnioskowi patentowemu. Z opublikowanych informacji wynika, że nowe urządzenie nie będzie posiadało napędu optycznego, a zamiast niego zostaną zastosowane karty pamięci. Sprzęt ponadto otrzyma wewnętrzny dysk twardy, więc można podejrzewać, że gry rozprowadzane będą w formie cyfrowej oraz na wspomnianych kartach pamięci. Ponadto rzeczony wniosek patentowy zawiera także informacje związane z kontrolerem, który zostanie wyposażony w ekran, a więc podobnie jak w przypadku Wii U. Naturalnie to wszystko wcale nie oznacza, że tego typu rozwiązania znajdziemy ostatecznie w Nintendo NX, ale niewykluczone, że tak się właśnie stanie.
Premiera nowej konsoli ma się ponoć odbyć w lipcu 2016 roku. Według niepotwierdzonych informacji, Nintendo bardzo wierzy w nadchodzące urządzenie i w pierwszym roku obecności sprzętu na rynku wyprodukuje aż 20 milionów egzemplarzy.

Ostatnią konsolą stacjonarną firmy Nintendo jest Wii U, które zadebiutowało na rynku w listopadzie 2012 roku. Urządzenie rozpoczęło ósmą generację, ale pod względem technicznym sprzętowi bliżej jest do PlayStation 3 i Xboksa 360. Jedną z atrakcji maszyny jest specjalny pad wyposażony w ekran dotykowy. Pełni on różne funkcje - może np. wyświetlać mapę, ekwipunek, menu Wii U, a w niektórych grach także samą rozgrywkę.
Konsola, pomimo iż doczekała się całkiem pokaźnej liczby bardzo dobrych produkcji (Mario Kart 8, New Super Mario Bros. U, Splatoon, Super Mario 3D World, Bayonetta 2, Lego City Undercover, ZombiU i inne) nie została zbyt ciepło przyjęta przez graczy. Do tej pory sprzedano zaledwie 10 milionów egzemplarzy (podobny wynik Xbox One osiągnął w ciągu roku, a PlayStation 4 w niecałe 2 lata rozeszło się w ponad 25 milionach egzemplarzy). Na sytuację wpłynął szereg czynników, w tym słabsze od konkurencji podzespoły, brak wielu multiplaytformowych hitów itd.
Dziękujemy za przeczytanie artykułu.
Ustaw GRYOnline.pl jako preferowane źródło wiadomości w Google
Więcej:Rosnące ceny RAM wywierają presję na Switcha 2, ale Nintendo na razie milczy o podwyżkach
1