Granie w gry z PS3 na PS5 - Sony może zapewnić doświadczenie bliższe oryginalnemu
Sony zarejestrowało patent, który może mieć na celu dodanie obsługi urządzeń peryferyjnych z ery PlayStation 3 na PS4 i PS5. Dzięki niemu granie w klasykę w ramach abonamentu PS Plus Premium stałoby się doświadczeniem bliższym oryginalnemu.

- Sony otrzymało patent na emulację gier wideo z wykorzystaniem urządzeń peryferyjnych z ery PS3;
- jeśli zostanie on w pełni wykorzystany, granie na PS4 i PS5 w produkcje z katalogu klasyki PS Plus Premium może nieco bardziej przypominać oryginalne doświadczenie.
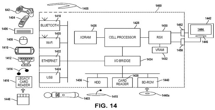
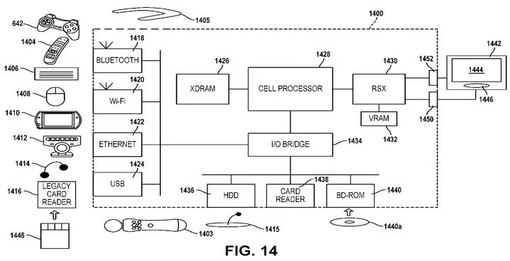
„Systemy i metody konwersji starszego kodu na zaktualizowany kod” – tak brzmi pełna nazwa wniosku patentowego, zgłoszonego przez firmę Sony Interactive Entertainment 16 grudnia 2021 roku (ang. “Systems and Methods For Converting A Legacy Code Into An Updated Code”).
Dokument został opublikowany przed czterema dniami (30 czerwca); szczegółowo opisano (via GameRant) w nim sposób emulacji gier wideo, który zakłada wykorzystanie urządzeń peryferyjnych, takich jak EyeToy, PlayStation Mouse, „stare” pady DualShock, PSP Go, PS Move oraz „klasyczny czytnik kart” (ang. legacy card reader).

Granie jak za dawnych lat…
Może to oznaczać wszystko i nic. Niewykluczone jednak, że Sony zamierza poprawić doświadczenie płynące z grania w chmurze w produkcje z ery PS3 – a być może i starsze – na PS4 i PS5. Opcja ta jest obecnie dostępna w ramach abonamentu PS Plus Premium, jednak pozostawia nieco do życzenia.
Karty przedpłacone PS Plus kupisz tutaj
W ramach rozszerzania katalogu klasyki, SIE może chcieć zapewnić graczom dostęp do gier, które – wydawałoby się – zostały skazane na zapomnienie. Mam tu na myśli choćby produkcje towarzyskie pokroju serii SingStar, wydawane głównie na PS2 i PS3.
…czy jedynie jego namiastka?
Trudno jednoznacznie stwierdzić, czy Sony zamierza uczynić „stary” sprzęt w pełni kompatybilnym z PS4 i/lub PS5, czy – co wydaje się bardziej prawdopodobne – dołożyć starań, aby poszczególne jego funkcje zaczęły być w jakiś sposób obsługiwane przez konsolę dziewiątej generacji. Jeśli tak, prawdopodobnie znajdą one zastosowanie w oferowanej przez SIE ofercie streamingowej – raczej trudno wyobrazić sobie, aby nagle pełna wsteczna kompatybilność gier z PS3 miała stać się faktem.
„Nowe emulatory” w drodze
Jako dowód, że nie jest to sprawa przedawniona, a Sony nie zamierza ograniczać się do tego, co już oferuje, niech posłuży świeże ogłoszenie o pracę, zauważone na portalu LinkedIn.com przez użytkowników forum ResetEra. Jasno wynika z niego, że firma szuka nowych ludzi do działu „Narzędzia i Technologie”, którzy zajmowaliby się pozycjami z katalogu klasyki PS Plus Premium. Zatrudnieni mieliby „dodawać nowe funkcje i opracowywać nowe emulatory”.

Czas pokaże, co z tego wyniknie. Być może wszelkie potencjalne ulepszenia są z góry przeznaczone dla mocniejszej wersji PS5, która ponoć powstaje. Niewykluczone również, że Sony zamierza po prostu przetestować pewne rozwiązania, a ostatecznie żadne z nich nie ujrzy światła dziennego. Bo choć z jednej strony karty pamięci można darzyć sentymentem, to dziś wydają się raczej ciekawostką niż rozwiązaniem, które mogłoby konkurować z zapisywaniem postępów w grach na dysku SSD czy w chmurze.
ZASTRZEŻENIE
Firma GRY-OnLine S.A. otrzymuje prowizję od wybranych sklepów, których oferty prezentowane są powyżej. Dołożyliśmy jednak wszelkich starań, żeby wybrać tylko ciekawe promocje – przede wszystkim chcemy publikować najlepsze oferty na sprzęt, gadżety i gry.
- ciekawostki growe
- PS Plus / PlayStation Plus
- streaming / chmura
- emulacja / wsteczna kompatybilność
- patenty i znaki towarowe
- dziewiąta generacja
- Sony Interactive Entertainment
- PS4
- PS5
Komentarze czytelników
BlurekPL Generał

Ja to bym najbardziej chciał emulator PS Vity, problem z grami które wykorzystują dotyk można rozwiązać na przykładzie ''wirtualnego palca'' który by się pojawiał po przyciśnięciu guzika którego akurat vita nie ma, poza tym pad od PS5 jak i 4 mają touchpad tyle że jeden, Vita miała dwa, więc po wciśnięciu guzika mógłby sie ten touchpad przełączać, bo nigdy Vity nie posiadałem a ograłbym Uncharted Złotą Odchłań czy Killzone'a Mercenary bo to ponoć dobre gry, a obydwa uniwersa uwielbiam.