Na stronie amerykańskiego urzędu patentowego pojawił się patent Sony opisujący koncepcję zestawu rozszerzonej rzeczywistości. Urządzenie miałoby pozwalać na wyświetlanie dodatkowych informacji, które zastąpiłyby standardowy HUD. Jak na razie nic jednak nie zostało potwierdzone.
Konrad Hazi

Gogle VR pomału, bo pomału, jednak zyskują na popularności. Na rynku dostępnych jest szereg zestawów takich jak PlayStation VR, Oculus Rift, Valve Index czy HTC Vive. Tego typu „klasyczne” już urządzenia dostępne są na rynku od jakiegoś czasu, jednak wygląda na to, że wkrótce możemy doczekać się alternatywy - gogli lub okularów rozszerzonej rzeczywistości (AR) dedykowanych graczom.
Rozszerzona rzeczywistość nie jest niczym nowym, nad swoimi urządzeniami tego typu pracują choćby Samsung czy Lenovo, a kilka popularnych gier, takich jak choćby Pokemon GO, wykorzystuje tę technologię już od dłuższego czasu. Zdaje się jednak, że coś do powiedzenia w tej sprawie chce mieć także Sony, które opatentowało swój projekt zaprojektowanego pod kątem PlayStation 5 urządzenia AR.
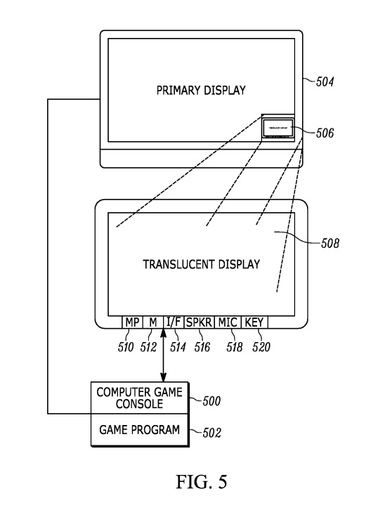
Dokument dostępny na stronach amerykańskiego urzędu patentowego opisuje przygotowaną przez Sony koncepcję urządzenia rozszerzonej rzeczywistości, które będzie można wykorzystać podczas grania w gry czy też streamowania.
Jest to ubieralne lub mocowane urządzenie pozwalające na prezentowanie materiałów w rozszerzonej rzeczywistości. Głównym zadaniem urządzenia AR ma być selektywne wyświetlanie elementów HUD (heads up display) takich jak mapa, zegar, prędkościomierze, panele kontrolne oraz innych istotnych informacji dla gier czy streamów - czytamy w patencie.
Oprócz samego opisu patent zawiera także rysunki poglądowe, które możecie zobaczyć poniżej. Ciekawe, jak urządzenia tego typu mogłyby sprawować się w akcji.



Urządzenie oparte na wspomnianym patencie mogłoby wyglądać na kilka sposobów - może to być na przykład zestaw zakładany na głowę lub specjalne okulary pozwalające na wyświetlanie dodatkowych informacji, które nie będą prezentowane na głównym ekranie.
Oprócz wyświetlania dodatkowych informacji, urządzenia wykorzystujące opisaną w patencie technologię mogłyby stać się również kontrolerami - czy to dotykowymi, czy też śledzącymi ruch naszych gałek ocznych.
Specjalny wyświetlacz może być wyposażony także w dotykową zewnętrzną powłokę skierowaną w stronę głównego ekranu, która pozwalałaby na manipulację wyświetlanymi w trybie AR informacjami zgodnie ze wskazaniami dotyku.
Niektóre koncepcje urządzeń przwidują także kamerę śledzącą ruchy gałek ocznych użytkownika i przesyłanie tych informacji do konsoli. Dane te mogą posłużyć na przykład do celowania bronią w grze.
Wszystko to brzmi pięknie na papierze, jednak od patentu do gotowych rozwiązań zwykle daleka droga i raczej nie należy spodziewać się, że za chwilę na rynku zadebiutuje na przykład zestaw PlayStation AR, zwłaszcza że wielu graczy wciąż czeka na zapowiedź odświeżonej wersji PSVR.
Dziękujemy za przeczytanie artykułu.
Ustaw GRYOnline.pl jako preferowane źródło wiadomości w Google
Więcej:PS5 było kupowane na potęgę przez widmo podwyżek konsol Sony
31