Apple do grona projektów, nad którymi obecnie pracuje, dołożyło inteligentny pierścień. Ten niewielki gadżet może zrewolucjonizować sposób sterowania różnego rodzaju urządzeniami.
Apple ma w swoim portfolio wiele patentów na rewolucyjne technologie, które mogą zmienić świat, i właśnie dołożyło do tego kolejny pomysł. Jak donosi serwis Apple Insider, amerykański koncern pracuje nad inteligentnym pierścieniem, który umożliwi sterowanie różnego rodzaju urządzeniami za pomocą dotyku.
Sam pomysł nie jest nowy, gdyż po raz pierwszy o urządzeniu w formie pierścienia usłyszeliśmy w 2015 roku – miało być ono wyposażone w technologię haptyczną, sterowanie głosem, a nawet kamerę. W 2019 roku Apple chciało natomiast odtworzyć w pierścieniu funkcjonalność zegarka Apple Watch. Rok później pojawiły się pogłoski na temat urządzenia o roboczej nazwie „Apple Ring”, zaś firma zaprezentowała patent na urządzenie pełniące funkcję kontrolera różnych urządzeń. Poprzedni pomysł opierał się jednak na sterowaniu wykorzystującym gesty i najwyraźniej został przez koncern porzucony.

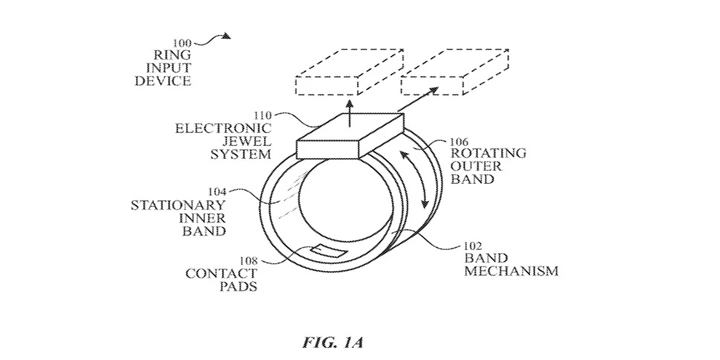
Obecna koncepcja jest już znacznie nowocześniejsza. Z dokumentów złożonych w Urzędzie Patentów i Znaków Towarowych Stanów Zjednoczonych wynika, że urządzenie będzie miało wbudowany moduł bezprzewodowej łączności oraz wewnętrzną i zewnętrzną część zapewniające różną funkcjonalność. Element wewnętrzny, dzięki technologii haptycznej, za pomocą wibracji informowałby użytkownika o otrzymanych powiadomieniach. Natomiast część zewnętrzna zawierałaby elementy sterujące.
Za pomocą pierścienia użytkownik mógłby np. przewijać strony internetowe wyświetlane na smartfonie, ale też sterować pracą innych urządzeń, takich jak smartwatch, słuchawki, tablet, laptop czy też komputer stacjonarny. Patent sugeruje również, że gadżet mógłby być wykorzystywany do dostarczania sygnału wejściowego do urządzeń stacjonarnych. Innymi słowy, przy jego pomocy moglibyśmy sterować telewizorem, oświetleniem czy też innymi systemami inteligentnego domu.

Naturalnie musimy mieć świadomość, że jest to tylko patent, a więc prezentacja pomysłu, których Apple ma bardzo wiele. Nie oznacza to, że producent zdecyduje się zrealizować ten projekt. Duże możliwości pierścienia mogłyby jednak uczynić z niego gadżet niezwykle użyteczny w codziennym życiu. Nie możemy więc wykluczyć, że takie urządzenie w przyszłości pojawi się na rynku.
Dziękujemy za przeczytanie artykułu.
Ustaw GRYOnline.pl jako preferowane źródło wiadomości w Google
Więcej:Strefa czystego transportu rusza w Krakowie od 1 stycznia 2026. Są obawy czy jesteśmy na to gotowi

Autor: Marek Pluta
Od lat związany z serwisami internetowymi zajmującymi się tematyką gier oraz nowoczesnych technologii. Przez wiele lat współpracował m.in. z portalami Onet i Wirtualna Polska, a także innymi serwisami oraz czasopismami, gdzie zajmował się m.in. pisaniem newsów i recenzowaniem popularnych gier, jak również testowaniem najnowszych akcesoriów komputerowych. Wolne chwile lubi spędzać na rowerze, zaś podczas złej pogody rozrywkę zapewnia mu dobra książka z gatunku sci-fi. Do jego ulubionych gatunków należą strzelanki oraz produkcje MMO.