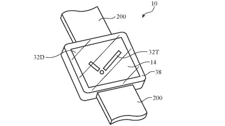
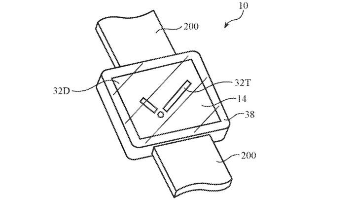
Apple przygotował patent, który pozwoli schować aparat za wyświetlaczem smartfona. W ten sposób wideorozmowy przez Apple Watch będą możliwe.
Od momentu pojawienia się notcha w telefonach, producenci kombinują, co zrobić z obiektywem przedniego aparatu. Najnowsze smartfony posiadają zazwyczaj niewielki otwór zdradzający położenie wyświetlacza. Od lat mówiło się o próbach schowania aparatu za wyświetlaczem i Apple ma ku temu pewien pomysł. Zdradza to dokumentacja patentowa, w której opisano zamysł (vide Apple Insider).
We wspomnianej dokumentacji patentowej, Apple wspomina o wyzwaniach łączenia wyświetlacza z innymi elementami, jak kamery. Według firmy obecne rozwiązania sprawiają, że ekrany smartfonów są „nieatrakcyjne”, gdy nie są w użyciu. Na ratunek przychodzi rozwiązanie Apple, czyli dwuwarstwowy wyświetlacz. Patent wyjaśnia, jak miałoby wyglądać jego działanie:
Urządzenie elektroniczne może zostać wyposażone w dwustopniowy wyświetlacz. Ten wyświetlacz może posiadać wewnętrzną warstwę, z szeregiem pikseli do wyświetlania obrazu i zewnętrzną warstwę zbudowaną z modulatorów światła i z szeregiem komórek, z których każda może być ustawiona w trybie przezroczystym lub blokującym światło.

Takie rozwiązanie pozwoliłoby w prosty sposób schować aparat. Przy zwykłym korzystaniu warstwa z obiektywami odpowiadającymi za zdjęcie byłaby przezroczysta. Stałaby się widoczne dopiero w momencie, gdy chcemy wykonać zdjęcie. Apple mogłoby w końcu umieścić kamerę w smartwatchach, co zrealizowałoby jedną z wizji science-fiction wideorozmów z poziomu nadgarstka.
Rozwiązanie Apple jest rozwinięciem tego, co możemy znaleźć w niektórych smartwatchach. Czyli dwóch oddzielnych wyświetlaczy, na przykład AMOLED i innego o niskim poborze energii. W ten sposób podstawowe rzeczy, jak godzina lub liczba kroków, są cały czas wyświetlane, ograniczając zużycie baterii. Apple idzie o krok dalej i ich rozwiązanie ma na celu schowanie obiektywu aparatu.
Poza przeciekami dotyczącymi patentów pojawiły się doniesienia o kolorach iPhone’a 17. Względem iPhone’a 16 pozostaną z nami wyłącznie kolory czarny i biały. Pozostałe, bardziej barwne opcje, będą zupełnie inne i otrzymamy większy wybór. Poza nazwami kolorów otrzymaliśmy ich oznaczenia Pantone (vide Macworld):
Podano również informacje dotyczące kolorów obudowy iPhone’a 17 Air:
W przypadku cienkiego iPhone’a czarny będzie taki sam, co w iPhonie 16, natomiast biały kolor będzie delikatnie jaśniejszy. Użytkownicy, dla których barwa obudowy smartfona jest istotna, powyższe informacje powinny być przydatne. Na razie nie wiemy, jak dalece te przecieki są pewne, o czym warto pamiętać.
Dziękujemy za przeczytanie artykułu.
Ustaw GRYOnline.pl jako preferowane źródło wiadomości w Google
Więcej:NVIDIA szykuje DLSS 5. W sterownikach znaleziono ślady technologii, która może zmieniać wygląd gier

Autor: Zbigniew Woźnicki
Przygodę z publicystyką i pisaniem zaczął w serwisie Allegro, gdzie publikował newsy związane z grami, technologią oraz mediami społecznościowymi. Wkrótce zawitał na GRYOnline.pl i Filmomaniaka, pisząc o nowościach związanych z branżą filmową. Mimo związku z serialami, jego serce należy do gier wszelakiego typu. Żaden gatunek mu nie straszny, a przygoda z Tibią nauczyła go, że niebo i muzyka w grach są całkowicie zbędne. Przed laty dzielił się swoimi doświadczeniami, moderując forum mmorpg.org.pl. Uwielbia ponarzekać, ale oczywiście konstruktywnie i z umiarem. Na forum pisze pod ksywką Canaton.