Światło dzienne ujrzał patent, który Microsoft złożył jeszcze w 2024 roku. Dokument dotyczy integracji generatywnej AI w grach i budowania narracji, która zmienia się pod wpływem działań gracza.
W przyszłości generatywna sztuczna inteligencja może być nieodłącznym elementem procesu produkcji gier. Swoją wizję we wrześniu zeszłego roku przedstawiło Electronic Arts, a upubliczniony patent Microsoftu zdradza, jaki kierunek zamierza obrać amerykański gigant.
W przeciwieństwie do EA, generatywna sztuczna inteligencja w wizji Microsoftu ma skupiać się na interakcji graczy ze światami w grach i ich wirtualnymi mieszkańcami (vide Windows Central).
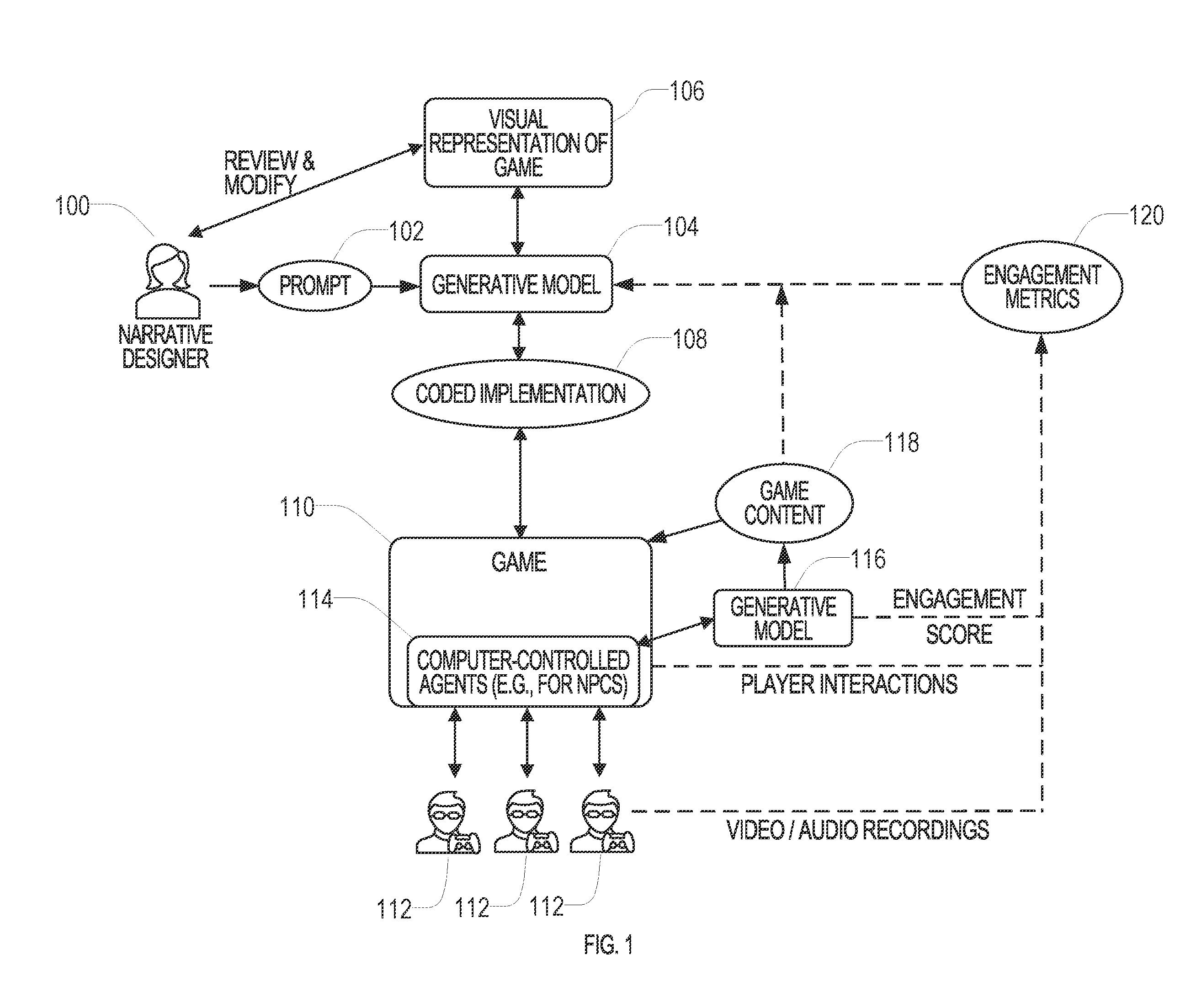
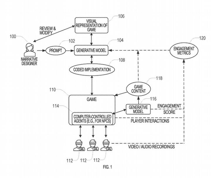
Wspomniany patent został złożony 19 czerwca 2024 roku, ale dokumentację opublikowano dopiero w tym roku. Znajdziemy tam wykres i krótki opis, który wyjaśnia, czego dotyczy patent. Według Microsoftu mamy do czynienia z „systemami i technikami ewolucji komputerowych gier narracyjnych w oparciu o informacje zwrotne od graczy, wykorzystującymi generatywną sztuczną inteligencję”.
W efekcie zaimplementowane systemy powinny m.in. generować nową zawartość oraz weryfikować, które elementy rozgrywki najbardziej angażują gracza, i na tej podstawie modyfikować treść. Teoretycznie pozwoliłoby to tworzyć gry, w których każde kolejne podejście gracza będzie unikalne, ponieważ nie da się wprost przewidzieć reakcji NPC na nasze działania.
Microsoft widzi dla generatywnej AI jeszcze inne miejsce, co firma pokazała jeszcze w maju 2024 roku. Wtedy Copilot posłużył za interaktywny samouczek w Minecrafcie. Asystent podpowiadał, jakie materiały są potrzebne do wykonania przedmiotów i sprawdzał, czy mamy wszystkie potrzebne elementy w ekwipunku. Taka interaktywna forma samouczka mogłaby spodobać się części graczy, bo gra reaguje na bieżąco na to, co próbują zrobić.
O ile Copilot w Minecrafcie został zaprezentowany w praktyce, tak narracja AI w grach to wyłącznie teoria przedstawiona w patencie. Od złożenia dokumentów minęło ponad pół roku i nie wiemy, czy Microsoft wciąż pracuje nad technologią, czy zdążył ją porzucić, co spotyka podobne eksperymenty na drodze ich rozwoju.
Dziękujemy za przeczytanie artykułu.
Ustaw GRYOnline.pl jako preferowane źródło wiadomości w Google
Więcej:„Używajcie własnych mózgów” apeluje papież Leon XIV, gdy badania pokazują, że AI nie zastąpi lekarza

Autor: Zbigniew Woźnicki
Przygodę z publicystyką i pisaniem zaczął w serwisie Allegro, gdzie publikował newsy związane z grami, technologią oraz mediami społecznościowymi. Wkrótce zawitał na GRYOnline.pl i Filmomaniaka, pisząc o nowościach związanych z branżą filmową. Mimo związku z serialami, jego serce należy do gier wszelakiego typu. Żaden gatunek mu nie straszny, a przygoda z Tibią nauczyła go, że niebo i muzyka w grach są całkowicie zbędne. Przed laty dzielił się swoimi doświadczeniami, moderując forum mmorpg.org.pl. Uwielbia ponarzekać, ale oczywiście konstruktywnie i z umiarem. Na forum pisze pod ksywką Canaton.