Sony pracuje nad funkcją wstecznej kompatybilności dla PlayStation 6. Wprowadzony zostanie tryb testowy, który będzie sprawdzał gry pod kątem błędów sprzętowych.
Spis treści:
Sony od dłuższego czasu pracuje nad ważną funkcją dla PlayStation 6. Mark Cerny, architekt systemów PS4 i PS5 w Sony, opublikował kilka dni temu serię interesujących patentów, które zdradzają wiele planów japońskiego giganta.
W dzisiejszych czasach wsteczna kompatybilność jest ważniejsza, niż kiedykolwiek. Ciężko sobie wyobrazić, żeby na przyszłych konsolach nie dało się zagrać w starsze gry, takie jak Bloodborne czy Horizon: Forbidden West. Z tego powodu Sony opracowało specjalną metodę, która umożliwi granie w takie tytuły na nadchodzącym PlayStation 5 Pro oraz planowanym w przyszłości PlayStation 6.
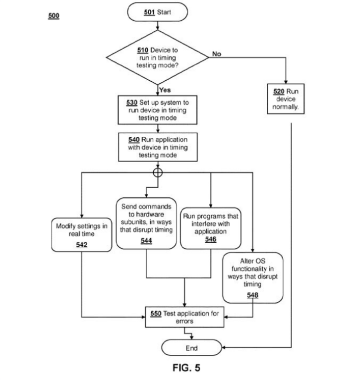
Jeden z najistotniejszych, zgłoszonych przez Sony patentów, nosi nazwę „Testowanie wstecznej kompatybilności oprogramowania w trybie, który próbuje wywołać rozbieżność”. W dużym przybliżeniu, tytuł dokumentu oznacza, że potencjalna wsteczna kompatybilność gry na przyszłej konsoli zostanie sprawdzona w trybie testowym dla starszego urządzenia.

W treści patentu Mark Cerny opisuje, że gra może nie być kompatybilna z przyszłym urządzeniem, ze względu na różnice sprzętowe, a jako główną przyczynę podaje częstotliwość taktowania rdzeni procesorów w chipie nowej wersji konsoli.
W jednym przykładzie Cerny podaje, że procesor o znacznie wyższym taktowaniu może nadpisywać zadania obliczeniowe wymagane przez starszy tytuł tylko dlatego, że nowy chip pracuje dużo szybciej. Takie sytuacje mogą prowadzić do poważnych błędów.
Odpowiedzią, podaną przez Marka Cerny’ego, jest specjalny tryb testowy. Umożliwi on sprawdzanie gier i aplikacji pod kątem możliwych słabych punktów i błędów, a następnie ich eliminowanie. Odbywać się to będzie za pomocą następujących metod:
Wcześniejsza wersja patentu została opublikowana przez Sony jakiś czas po premierze PlayStation 4. Zmiany wprowadzone teraz przez firmę są jedynie rozbudową systemu odpowiedzialnego za wczesną kompatybilność, skupione głównie na przyszłych konsolach planowanych przez Japończyków.
Wiele plotek sugeruje, że Sony dalej pracuje nad wsteczną kompatybilnością tytułów z PlayStation 3. Patent złożony przez Cerny’ego nie obejmuje jednak tak starej technologii, z jakiej korzystało PS3 i w najbliższej przyszłości nie powinniśmy się spodziewać znaczących ruchów w tym temacie.
Skomplikowana architektura, na jakiej zostało oparte PlayStation 3, stanowi poważną przeszkodę we wczesnej kompatybilności. Wysoka różnica w taktowaniu procesorów jest nie do obejścia dla obecnego patentu złożonego przez Sony.
Dziękujemy za przeczytanie artykułu.
Ustaw GRYOnline.pl jako preferowane źródło wiadomości w Google
Więcej:Zmiażdżony przez krytyków Kraven Łowca podbija Netflixa. Film jest już w polskim top 3

Autor: Andrzej Krzemiński
Do GRYOnline.pl dołączył w maju 2024 roku, rozpoczynając swoją przygodę z profesjonalnym pisaniem w dziale technologicznym. Jest miłośnikiem eksperymentalnego hip-hopu oraz książek psychologicznych i filozoficznych, które kolekcjonuje. W wieku 7 lat kuzyn wprowadził go w świat gier i od tego czasu nie może się od nich oderwać. W przeszłości spędzał długie godziny na grach multiplayer, takich jak League of Legends, Valorant i Rainbow Six: Siege. Obecnie skupia się na strategiach, produkcjach indie i j-RPG. Jest największym fanem japońskich gier, w szczególności twórczości studia Atlus z serią gier Persona na czele oraz gry Nier: Automata. W tym roku planuje rozpocząć studia na Uniwersytecie Jagiellońskim.