Wczoraj opublikowano patent, w którym widać system chłodzenia devkitu PlayStation 5. Składa się on z sześciu wentylatorów i komory parowej. Czy podobny system będzie odprowadzał ciepło w finalnej wersji?

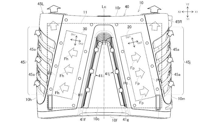
Na stronie portalu WIPO możemy zobaczyć niedawno opublikowane schematy systemu chłodzenia wersji deweloperskiej PlayStation 5. Widać na nich układ podzielony na dwie sekcje, każda z trzema wentylatorami. Takiemu rozwiązaniu sprzyja „farelkowa” budowa tej wersji urządzenia. O wyglądzie premierowej wersji ciągle wiemy niewiele, a tym bardziej o zainstalowanym w niej sposobie odprowadzania ciepła. Sony uparcie trzyma takie szczegóły w tajemnicy.

Na schematach można dostrzec spory radiator (30) przymocowany do komory parowej (31) w części mieszczącej najważniejsze podzespoły obliczeniowe. Przepływ powietrza przez niego wymuszają trzy wentylatory (15). Druga część mieści zespół zasilania i kolejne trzy wiatraki. Taki układ na pewno nie podgrzeje pizzy, sądząc z niektórych internetowych memów, bo powietrze kierowane jest do tyłu. System wygląda na całkiem wydajny i sugeruje sporą ilość ciepła wytwarzanego przez podzespoły. Jeden z naszych wcześniejszych newsów mówi o możliwych problemach z chłodzeniem PS5. Dotyczą one jednak najprawdopodobniej wersji produkcyjnej. Możliwe więc, że Sony będzie musiało przemyśleć i zmienić kształt urządzenia. Czy dlatego nadal nie znamy ostatecznego wyglądu konsoli?

Wersja deweloperska nie musi być cicha - sześć małych wentylatorów wygląda raczej na wyraźnie słyszalny system. Jednak konsole skierowane do klientów nie powinny generować zbyt dużego hałasu, o czym wcześniej zapewniał producent. Jak wiadomo, głośna praca wentylatorów PS4 była jednym z bardziej uciążliwych problemów, więc nowa generacja nie powinna tego powielać. Xbox Series X postawił na duży wiatrak i pionową budowę. Taki układ sprzyja cichemu i wydajnemu chłodzeniu. Być może Sony spróbuje swoje problemy rozwiązać w podobny sposób. To jednak może wywołać zarzuty o kopiowanie designu Microsoftu. Więcej o nowych konsolach w tym artykule.
Dziękujemy za przeczytanie artykułu.
Ustaw GRYOnline.pl jako preferowane źródło wiadomości w Google
Więcej:Nikt nie chce PS6? Gracze wątpią, żeby nowa generacja przyniosła wielkie zmiany
39

Autor: Arkadiusz Strzała
Swoją przygodę z pisaniem zaczynał od własnego bloga i jednego z wczesnych forum (stworzonego jeszcze w technologii WAP). Z wykształcenia jest elektrotechnikiem, posiada zamiłowanie do technologii, konstruowania różnych rzeczy i rzecz jasna – grania w gry komputerowe. Obecnie na GOL-u jest newsmanem i autorem publicystyki, a współpracę z serwisem rozpoczął w kwietniu 2020 roku. Specjalizuje się w tekstach o energetyce i kosmosie. Nie stroni jednak od tematów luźniejszych lub z innych dziedzin. Uwielbia oglądać filmy science fiction i motoryzacyjne vlogi na YouTube. Gry uruchamia głównie na komputerze PC, aczkolwiek posiada krótki staż konsolowy. Preferuje strategie czasu rzeczywistego, FPS-y i wszelkie symulatory.