Ford opatentował ciekawy pomysł, który pozwoli przekształcić samochody w głośniki, umożliwiające nagłośnienie większej imprezy. Takie rozwiązanie może sprawdzić się podczas wydarzeń plenerowych.
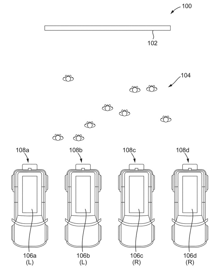
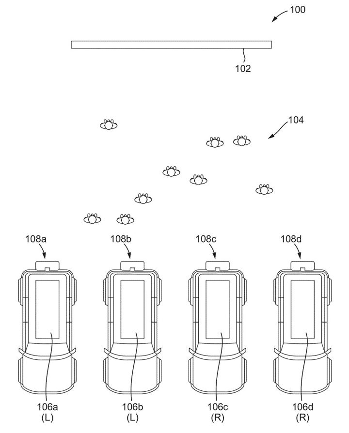
Opublikowany w ubiegłym tygodniu patent o nazwie „System audio dla wielu pojazdów” zakłada wykorzystanie kilku samochodów w charakterze zewnętrznych głośników. Oprogramowanie odpowiadałoby za synchronizację pojazdów, aby działały jak poszczególne głośniki w systemach stereo lub dźwięku przestrzennego. Na przykład dwa auta mogłyby emitować dźwięk stereo, zaś w przypadku większej ich liczby, każdy odpowiadałby za przypisany mu kanał.

Ford uważa, że taka technologia sprawdziłaby się w pojazdach autonomicznych. Samochody wykorzystując bezprzewodową komunikację oraz system GPS, mogłyby wówczas ustawiać się na danym obszarze w odpowiedniej konfiguracji, aby uzyskać pożądaną emisję dźwięku. Następnie otworzyłyby drzwi oraz okna, by odtwarzana muzyka była słyszalna na zewnątrz.

Rozwiązanie przypomina nieco obecne systemy bezprzewodowych głośników, które można łączyć ze sobą, tworząc w ten sposób zestawy audio do nagłaśniania większych imprez. Pojawia się jednak pytanie, jaki sens jest w używaniu samochodów do takich zadań. Ich systemy audio projektuje się bowiem do nagłaśniania kabin pojazdu, nie zaś otaczającej je przestrzeni, więc dźwięk może nie być zbyt dobrej jakości.

Na chwilę obecną jest to tylko patent, więc nie ma pewności, że Ford zdecyduje się wykorzystać ten nieco szalony, lecz kreatywny pomysł. A co Wy myślicie o takiej koncepcji użycia samochodów do nagłaśniania imprez masowych? Dajcie znać w komentarzach.
Dziękujemy za przeczytanie artykułu.
Ustaw GRYOnline.pl jako preferowane źródło wiadomości w Google
2

Autor: Marek Pluta
Od lat związany z serwisami internetowymi zajmującymi się tematyką gier oraz nowoczesnych technologii. Przez wiele lat współpracował m.in. z portalami Onet i Wirtualna Polska, a także innymi serwisami oraz czasopismami, gdzie zajmował się m.in. pisaniem newsów i recenzowaniem popularnych gier, jak również testowaniem najnowszych akcesoriów komputerowych. Wolne chwile lubi spędzać na rowerze, zaś podczas złej pogody rozrywkę zapewnia mu dobra książka z gatunku sci-fi. Do jego ulubionych gatunków należą strzelanki oraz produkcje MMO.